Costruzione di finestre
Sistema di isolamento per il collegamento al davanzale della finestra
Il Collegamento al davanzale della finestra CF sostituisce i tradizionali profili di collegamento al davanzale della finestra in PVC. Con il valore lambda ottimale di COMPACFOAM la condensa e la formazione di muffa nell’area FBA appartengono al passato. Grazie all’elevata resistenza del CF-FBA, il davanzale può essere fissato senza problemi con viti speciali per davanzali. In combinazione con un rivestimento in PVC, il davanzale può essere fissato anche con viti standard per davanzali.
Il Cuneo isolante CF offre una formazione semplice e affidabile del secondo livello di tenuta. Grazie all’elevato valore lambda di COMPACFOAM I pericolosi ponti termici sono evitati in modo affidabile. L’inclinazione del davanzale della finestra verso la parte anteriore è garantita a 5°.
Opzionalmente, l’interno dell’elemento Davanzale CF Pannello isolante interno L’altezza di 25 mm del pannello isolante interno assicura che il davanzale interno della finestra sia adeguatamente coperto.
Il COMPACFOAM-Il sistema di isolamento del raccordo del davanzale della finestra è composto da tre parti:
Dettagli
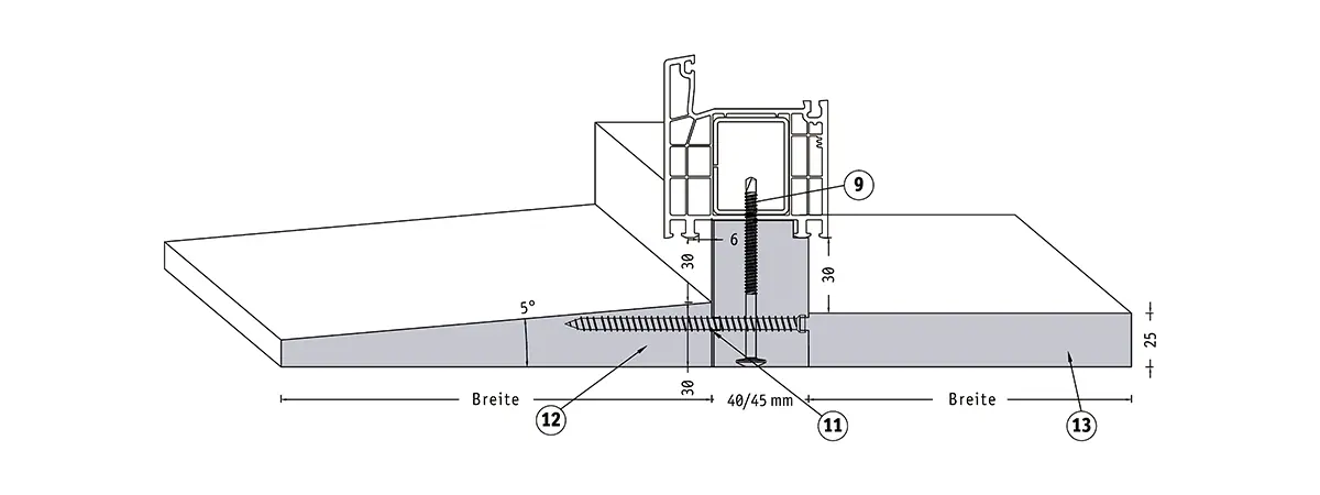
Variante di installazione con cuneo isolante CF
- Vite per telaio della finestra 7,5 mm – non è necessario preforare il profilo di collegamento al davanzale della finestra; distanza e lunghezza di ancoraggio in base ai requisiti statici o alla linea guida RAL.
- Incollaggio del giunto con adesivo polimerico MS o nastro adesivo
- Profilo di collegamento al davanzale della finestra CF (CF-FBA)
- Il foro commerciale deve essere sigillato in modo permanente secondo lo stato dell’arte.
- Vite del telaio della finestra
- Spessori
- Isolamento dei giunti secondo lo stato dell’arte
- Sigillatura interna ed esterna secondo lo stato dell’arte
- Vite 5,5 mm (vedi variante di montaggio 2)
- Davanzale della finestra
- Incollaggio del giunto con polimero MS
- Cuneo isolante CF 5° (vedi variante di montaggio 2)
- Pannello isolante interno (vedi variante di installazione 2)
Taglio del profilo
Il COMPACFOAM-Il sistema di isolamento per il collegamento con i davanzali delle finestre è flessibile sotto ogni punto di vista:
- I singoli pezzi sono disponibili non solo nella lunghezza standard, ma anche in lunghezze personalizzate.
- L’altezza e la profondità del profilo FBA possono essere selezionate liberamente. A causa della COMPACFOAM processo di produzione, possiamo produrre qualsiasi sezione trasversale, anche in quantità molto ridotte, a basso costo.
- Non ci sono limiti quando si tratta di profilare. Non sono assolutamente necessari strumenti personalizzati, il che ci permette di produrre qualsiasi profilo desiderato. Forniamo il profilo FBA personalizzato per la SUA finestra.
- Su richiesta, il profilo FBA può essere dotato di un rivestimento in PVC su uno o entrambi i lati.
- Anche il cuneo isolante e il pannello isolante interno possono essere personalizzati. Questo vale non solo per le dimensioni, ma anche per la scelta di un collegamento a innesto con linguetta e scanalatura.
Può ottenere la massima flessibilità acquistando pannelli da cui può tagliare e profilare i profili FBA nella sua officina.
ai prodottiGrazie all’elevata resistenza del CF-FBA, il davanzale può essere fissato senza problemi anche con viti speciali per davanzali. In combinazione con la superficie in PVC, il davanzale può essere fissato anche con viti standard per davanzali. Preforatura in COMPACFOAM non è richiesto.
COMPACFOAM può essere facilmente tagliato a misura utilizzando le seghe disponibili in commercio, come le seghe circolari, le seghe a pressione o le seghe circolari manuali. È importante utilizzare lame con un’ampia spaziatura dei denti e uno spazio libero per i trucioli.
Per il taglio di COMPACFOAM consigliamo lame con denti piatti e limitatore di spessore del truciolo e passo dei denti molto grande. I risultati di taglio ottimali si ottengono a 2000 giri al minuto.
Raccomandazione per la lama della sega
Caricare il contenuto di {{ nome }}. Il caricamento comporta il trasferimento di dati a fornitori terzi.
Ulteriori informazioniIsolamento termico: collegamento al davanzale della finestra
I profili COMPACFOAM FBA sostituiscono i tradizionali profili isolanti in PVC per il collegamento dei davanzali delle finestre. Il valore lambda ottimizzato di COMPACFOAM determina un valore U inferiore per le finestre senza ponti termici.
Dati tecnici
* qualsiasi spessore disponibile
Con l’aiuto di un processo di nuova concezione, la tecnologia delle particelle, siamo in grado di possiamo riciclare il 100% degli scarti di COMPACFOAM riciclare a 100 %. CFeco200, il risultato di questo processo, offre le stesse buone proprietà di COMPACFOAMalta resistenza con un eccellente isolamento termico.
COMPACFOAM le FBA possono essere ordinate anche nella variante di riciclaggio CFeco200.
In ogni caso, aumenterà la percentuale di riciclaggio nell’edilizia e migliorerà l’ecobilancio del suo progetto e della sua azienda. Perché la tutela dell’ambiente significa mantenere le cose in circolazione invece di smaltirle con costi elevati.
Caricare il contenuto di {{ nome }}. Il caricamento comporta il trasferimento di dati a fornitori terzi.
Ulteriori informazioni1. tenuta all’aria e all’acqua
2. montare l’FBA
3. installazione
4. sigillatura
5. cuneo isolante e pannello isolante interno (opzionale)
Video
Caricare il contenuto di {{ nome }}. Il caricamento comporta il trasferimento di dati a fornitori terzi.
Ulteriori informazioniCollegamento al davanzale della finestra in Compacfoam
Caricare il contenuto di {{ nome }}. Il caricamento comporta il trasferimento di dati a fornitori terzi.
Ulteriori informazioni
















