Costruzione di finestre
Profilo isolante della sottostruttura (UDP)
L’incavo del pavimento per porte ed elementi a pavimento pone requisiti elevati ai profili isolanti della sottostruttura. CFeco soddisfa questi requisiti.
Il COMPACFOAM-Il profilo isolante per sottostruttura UDP combina la resistenza con un eccellente isolamento termico e un peso morto molto basso. Con l’UDP, può garantire la distanza dal pavimento desiderata per porte finestre, porte d’ingresso e finestre. Grazie al materiale di costruzione stabile e impermeabile, può essere fissato da tutti i lati.
Economico e sicuro
Dettagli
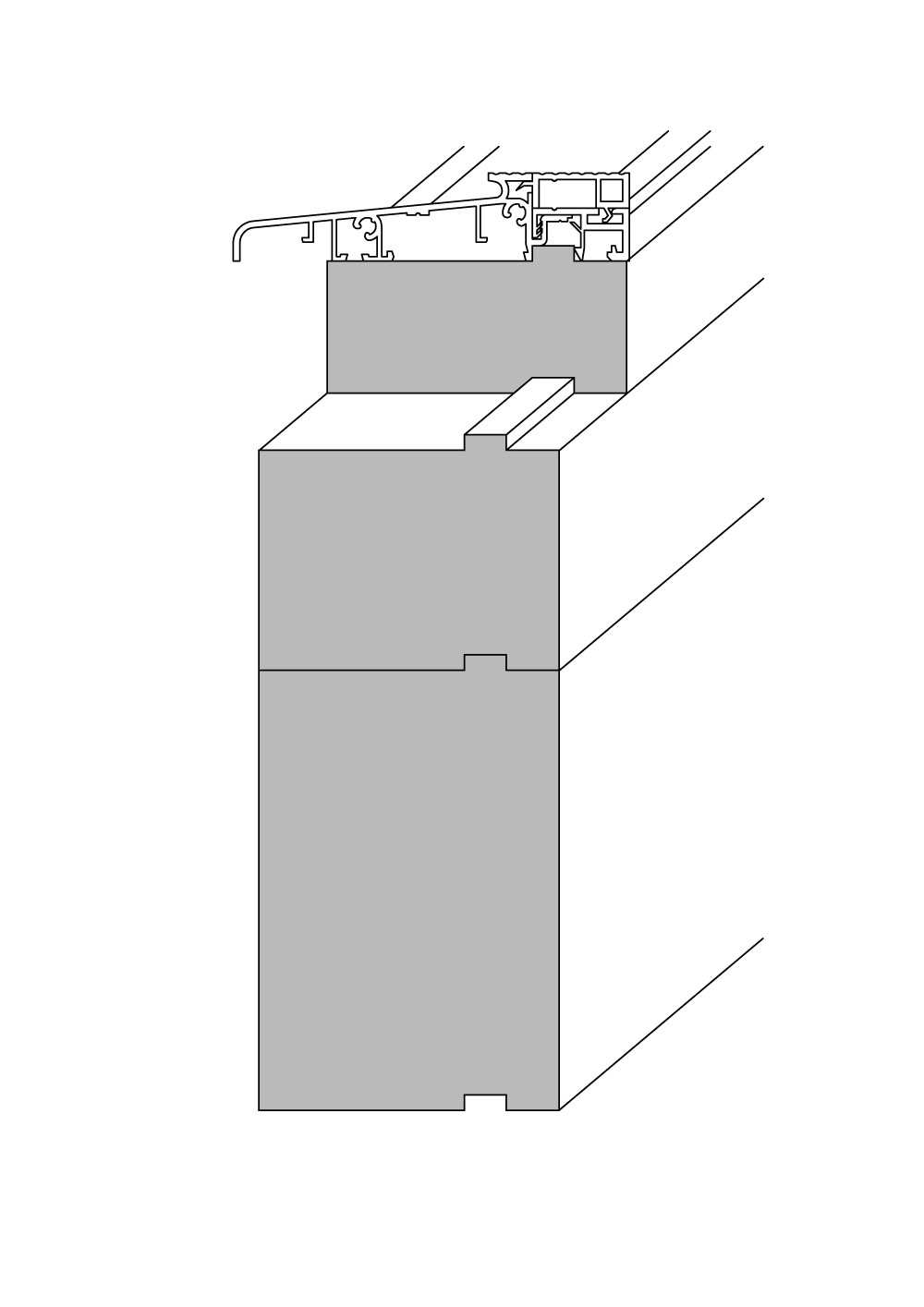
Variante di installazione con profili isolanti di sottostruttura altamente isolanti, adatti a tutte le soglie di porte e telai di finestre.
Dimensioni:
Superfici:
Profilazione:
Un elevato valore di isolamento termico è una caratteristica fondamentale dei moderni profili isolanti per sottostrutture. Con un valore lambda di 0,045 W/mK, i CFeco UDP raggiungono risultati ottimali anche in questo caso.
Dati tecnici
* qualsiasi spessore disponibile
Dimensioni
COMPACFOAM I profili isolanti per sottostrutture sono disponibili non solo nella lunghezza standard di 2350 mm, ma anche in qualsiasi lunghezza desiderata fino a 6 metri.
Rivestimento
Su richiesta, la sottostruttura può essere dotata di un rivestimento in PVC su uno o entrambi i lati.
Flessibilità
Potete ottenere la massima flessibilità acquistando pannelli che taglierete e profilerete voi stessi in officina.
Profilatura/contorno
Non ci sono limiti quando si tratta di profilare. Non sono assolutamente necessari strumenti personalizzati, il che ci permette di profilare anche piccole quantità in modo conveniente. Forniamo la sottostruttura personalizzata per la SUA soglia.
Il profilo di impilamento (connessione a innesto con linguetta e scanalatura) consente di ottenere in modo flessibile diverse altezze di stacco.
La lavorazione con la nostra fresatrice CNC a 5 assi è possibile anche fino a 4700x600x300 mm in un unico pezzo, per requisiti altamente complessi e personalizzati.
Esempi
Lo scopo delle vetrate anticaduta è quello di proteggere le persone dalla caduta a un livello inferiore. Sono progettate per ridurre al minimo il rischio di lesioni in caso di caduta e per garantire che l’area di circolazione sottostante non sia messa in pericolo da vetri rotti. Esempi di vetrate di questo tipo sono le balaustre, le ringhiere delle scale in vetro e le finestre dal pavimento al soffitto. La linea guida ETB per i componenti a prova di caduta dal pavimento al soffitto richiede una capacità di carico di almeno 2,8 kN nei punti di fissaggio pertinenti.
Il COMPACFOAMsoddisfa questo requisito e offre quindi la massima protezione e sicurezza con elementi anticaduta.
Il sistema di sottostruttura deve soddisfare i seguenti requisiti per la verifica:
Con il COMPACFOAM sistema di sottostruttura, esiste un sistema testato individualmente per tutte le altezze di montaggio fino a 240 mm, che soddisfa in modo dimostrabile tutti i requisiti.
I progetti complessi a volte richiedono anche la verifica dell’isolamento acustico del profilo della sottostruttura. I risultati dei test sono disponibili per diversi spessori di materiale, in base alla norma EN ISO 10140-2. Per requisiti più elevati, sono state testate anche sovrastrutture con lamina fonoisolante sul lato della stanza.
Il collegamento degli elementi di finestre e porte dal pavimento al soffitto con i componenti adiacenti è una delle interfacce più importanti dell’involucro edilizio. Il collegamento deve essere realizzato con un materiale impermeabile. A tale scopo, di solito si utilizzano materiali plastici liquidi o membrane bituminose. Con COMPACFOAM, è possibile realizzare un collegamento sicuro e permanente con plastiche liquide e membrane bituminose.
SIGILLATURA CON PLASTICA LIQUIDA
Quando si impermeabilizza con plastiche liquide, l’installatore deve assicurarsi di utilizzare un prodotto compatibile. Al seguente link troverà l’elenco attuale dei prodotti compatibili. plastiche liquide approvate.
Tutti i prodotti dell’elenco sono soggetti a un test di adesione e compatibilità da parte del produttore. Se un primer è elencato, deve essere utilizzato!
Cliccando sul pulsante acconsenti alla condivisione dei dati con YouTube.
Ulteriori informazioniIMPERMEABILIZZAZIONE CON TELI BITUMINOSI
Quando si impermeabilizza con membrane bituminose con il metodo della scarpatura, l’installatore deve assicurarsi che i profili di pavimentazione CF siano scarpati solo brevemente. Di norma, la membrana bituminosa viene riscaldata sul pavimento e poi stesa sulle UDP CF a caldo e con la superficie liquefatta. Può essere necessario premere o rullare meccanicamente sulla membrana per ottenere un’adesione sufficiente. La membrana può poi essere scarificata dall’esterno senza danneggiare la sottostruttura.
Come per tutti i materiali della classe di comportamento al fuoco B1, l’installatore deve ovviamente assicurarsi di evitare il contatto diretto tra il materiale da costruzione e la fiamma, per evitare che il materiale da costruzione prenda fuoco.
Cliccando sul pulsante acconsenti alla condivisione dei dati con YouTube.
Ulteriori informazioniCOMPACFOAM può essere facilmente tagliato a misura utilizzando le seghe disponibili in commercio, come le seghe circolari, le seghe a pressione o le seghe circolari manuali. È importante utilizzare lame con un’ampia spaziatura dei denti e uno spazio libero per i trucioli.
Per il taglio di COMPACFOAM consigliamo lame con denti piatti e limitatore di spessore del truciolo e passo dei denti molto grande. I risultati di taglio ottimali si ottengono a 2000 giri al minuto.
Raccomandazione per la lama della sega
Cliccando sul pulsante acconsenti alla condivisione dei dati con YouTube.
Ulteriori informazioniCon l’aiuto di un processo di nuova concezione, la tecnologia delle particelle, siamo in grado di possiamo riciclare il 100% degli scarti di COMPACFOAM riciclare a 100 %. CFeco200, il risultato di questo processo, offre le stesse buone proprietà di COMPACFOAMalta resistenza con un eccellente isolamento termico.
Il COMPACFOAM-I profili isolanti della sottostruttura sono prodotti in CFeco200 come standard. Ciò significa che utilizza un sistema di sottostruttura realizzato con materiale riciclato al 100 %. Questo aumenta la percentuale di materiale riciclato nella costruzione e migliora l’ecobilancio del suo progetto e della sua azienda. Perché la tutela dell’ambiente significa mantenere le cose in circolazione invece di smaltirle con grandi spese.
Cliccando sul pulsante acconsenti alla condivisione dei dati con YouTube.
Ulteriori informazioni1. tenuta all’aria e all’acqua
2. preassemblaggio
3. installazione del profilo di isolamento della sottostruttura
4. installazione
5. tenuta esterna
Ulteriori informazioni:
Ulteriori dettagli sulla sigillatura sono disponibili nella scheda tecnica “Sigillatura”.
Alla scheda tecnicaVideo
Cliccando sul pulsante acconsenti alla condivisione dei dati con YouTube.
Ulteriori informazioniImpermeabilizzazione bituminosa con scarpatura
Cliccando sul pulsante acconsenti alla condivisione dei dati con YouTube.
Ulteriori informazioniInstallazione a incasso di plastica liquida sigillante della porta
Cliccando sul pulsante acconsenti alla condivisione dei dati con YouTube.
Ulteriori informazioniMateriale di costruzione per davanzali e sottostrutture di finestre
Cliccando sul pulsante acconsenti alla condivisione dei dati con YouTube.
Ulteriori informazioni

















